在竞争激烈的航空制造市场的推动下,利用五轴机床固有的补偿功能配合精度球、千分表、宏程序和椭圆试块可实现快速准确的五轴动态检测。功能为的简称,又名刀具自动补偿功能,原理是通过控制系统对五轴旋转点到装刀点的距离+实际的刀具长度(见图3)进行多角度空间数学运算来实现将编程控制点转化为实际刀具切削接触点的过程。

图1 RTCP原理示意图
五轴机床必须依据RTCP功能才能正确地进行多轴联动切削运动,假设忽略机械硬件的误差问题五轴机床的实际运行轨迹和计算机编程(CAM)的NC代码轨迹完全一致,所以将功能纳入检测方案中目的就是动态检测时能完全准确地追踪五轴联动时机械运动机构的理论轨迹,精准快速地达到检测目的。
具体实施方案如下:
1) 调整五轴机床静态精度(静态精度为动态精度的基础),此项调整周期用时很长通常在年度二级保养时已测绘补偿到位,在动态检测前只需对主轴圆跳动、X/Y/Z/A/C轴的反向间隙和C轴极限回转误差用百分表进行复测不再运用激光干扰器进行精度调整。
2)定制 φ 80mmR40mm的测量球(见图4),要求球形直径和圆度公差≤0.005mm,表面粗糙度值Ra<0.8μm,镜面,避免硬件误差对动态检测结果的影响。

图2 测量球
3)利用精度标准棒校对五轴头固定旋转补偿值(见图5),此数值在机床出厂时已经测绘输入参数表,由于机床在长时间使用和维修过程中可能会造成补偿值的变化,所以校对其值的正确性是必须的。

图3 校对五轴头固定旋转补偿值
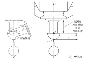
如图5所示以标准棒中心设立坐标系,将千分表按图放置,以标准棒最大外径压表0.1mm~后刻度归零(压表过程中注意排除X轴机械间隙);手动移动X轴至安全位置,如图所示旋转A轴至90度后再将主轴端面压表对零这时X轴在设定坐标系中的位移值即为实测值;计算五轴头补=实测值-标准刀长(150mm)-标准棒半径(25mm)。注意:在头补复测时应全程取消五轴刀具补偿功能。

图4 五轴头补测量示意
4)实施RTCP动态检测,首先设置动态旋转点,如图7所示要使千分表在固定不动的情况下表头接触点在 φ 80mmR40mm半球外形上弧线运动,只能选择旋转点作为运动坐标系原点因此先手动找到B点后再偏置至A点设立检测坐标系。

图5 设立检测坐标系
参照图7将刀具实际补偿值减短一个球头半径值(40mm)作为检测程序运行时刀具长度补偿(D01)值,运行检测宏程序对五轴机床的动态精度进行多角度多轴联动检测(见图8)宏程序如下。
N1 #1=90
N2 #2=45
N3 TROFOOF
N4 M06 T01 D01
N5 G0 A0 C0
N6 TRAOTI
N7 G90 G54 G01 Z100 F5000
N8 X0 Y0
N9 Z0
N10 M01
N11 G01 A=#1 F1000
N12 A=-#1
N13 A0
N14 M01
N15 C=#1
N16 A=#1 F1000
N17 A=-#1
N18 A0
N19 M01
N20 C=-#1
N21 A=#1 F1000
N22 A=-#1
N23 A0
N24 C0
N25 M01
N26 C=#2
N27 G01 A=#1 F1000
N28 A=-#1
N29 A0
N30 M01
N31 C=-#2
N32 A=#1 F1000
N33 A=-#1
N34 A0
N35 M01
……

图6 五轴机床动态精度检测
5)对五轴动态检测结果进行验证,通过对比分析动态检测结果和试切件三坐标计量结果,误差重合率达96%~98%以上,实践验证五轴动态检测的准确性和可行性。